电玩资讯 200
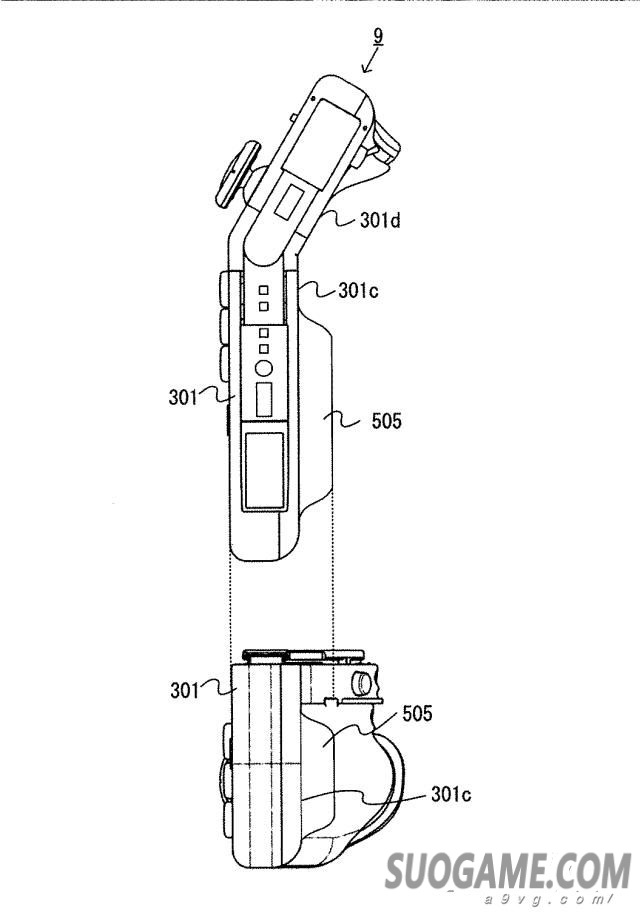
任天堂申请的一个新的游戏控制器专利日前被公开,看上去应该是新款的Joy-Con,加入了可弯曲的设计。
在专利说明上主要都是针对其外形和弯曲结构进行说明,并未有具体功能上的介绍。专利内容中称该发明的目的是提升游戏控制器有关形状设计的自由度。